Защита от разбалансировки
Защита трехфазных конденсаторных батарей реализована на наивысшем уровне, с использованием проверки симметричности между фазами самой батареи. Наиболее используемый вариант данной схемы – это разделение батареи на две звездообразные сети: между центрами двух звезд расположен трансформатор тока, подключенный к реле максимального омополярного тока.
Когда один из конденсаторов выходит из строя, центр соответствующей звезды смещается по отношению к центру интегральной звезды; таким образом обеспечивается циркуляция тока в трансформаторе, что позволяет активировать реле для размыкания главного выключателя батареи.
Защита обладает высокой чувствительностью и может включаться при отказе первого емкостного элемента из состава конденсатора. Защита активируется до момента короткого замыкания в конденсаторе, что исключает возможность его взрыва. Кроме того, переключатель размыкает контур нормальной нагрузки, а не короткого замыкания.
Наличие защиты такого типа делает использование стреляющего предохранителя излишним. Однако важно всегда иметь защиту от коротких замыканий, возникающих “по восходящей” от терминалов конденсаторов, т.к. защита от разбалансировки не в состоянии определять такой тип неисправностей.
Трансформатор тока для защиты от разбалансировки
Его основной функцией является поддержание изоляции нулевого провода на одном уровне с фазами.
- коэффициент трансформации: 25/5 A
- прецизионность: 10 P 10
- выход: 10 ВА
- категория изоляции: 24 кВ
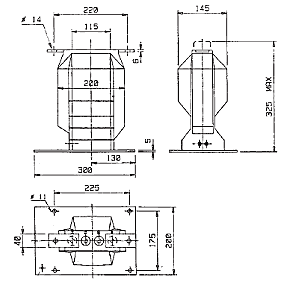
На рис. 9 и 10 показаны два варианта трансформатора для внутреннего и наружного монтажа.
 |  |
| Рис. 9 – Трансформатор со смоляной изоляцией для внутреннего монтажа CT (масса 14 кг) код 315.41.6880 | Рис. 10 Трансформатор с масляной изоляцией для наружного монтажа (масса 30 кг) код 415.65.1000 |
Реле максимального тока для защиты от разбалансировки
Используется обычное омополярное реле максимального тока, нечувствительное к 3-й гармонике, которое устанавливается на панели управления системы коррекции коэффициента мощности.
Ток вмешательства должен иметь пошаговую регулировку. Время вмешательства должно составлять около 0.1 секунды.
Реле имеет только один порог вмешательства. Если требуется два порога, то нужно использовать два реле.
- диапазон тока вмешательства: 0.02 ÷ 2.415 A
- шаг: 0,02A
- диапазон задержки времени: 0.1 ÷ 21 сек.
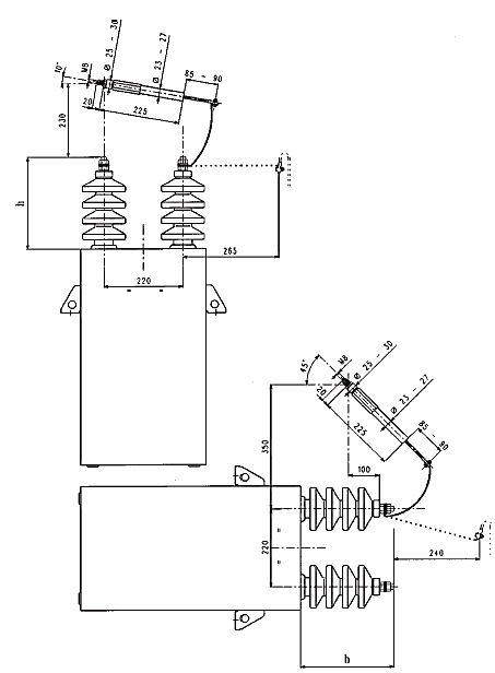
На рис. 11 показана схема подключения реле и шаблон для сверления.
Защита от перегрузки
Трехфазные батареи могут быть оснащены защитой от перегрузок. Такая защита может быть реализована с помощью использования двух трансформаторов тока и подходящего трехфазного реле максимального тока.
Параметры:
- батарея для коррекции мощности: в 1,5 раза больше номин. тока.
- система фильтрации: на уровне эффективного значения тока реакторов.
В обоих случаях время вмешательства может составлять несколько секунд.
Для этой функции, а также для функции защиты от балансировки может поставляться специальное мультифункциональное реле.
Трансформатор тока для защиты от перегрузки
- коэф.трансформации: нужно определить первичный ток/5 A
- прецизионность: 5 P 10
- выход: 10 ВА
- класс изоляции: 24 кВ
Предохранители
Расчет любых типов предохранителей используемых для защиты конденсатора или конденсаторной батареи должен производиться на основе следующих пунктов:
- перманентный ток: в 1,7 - 3 раза больше номинального тока для учета всех допустимых перегрузок.
- ток переключения: вне зависимости от наличия ограничительной индукции, предохранитель должен иметь номинальный ток приблизительно в 2 раза превышающий номинальный ток конденсатора, тип предохранителя – плавкий предохранитель с задержкой срабатывания.
HCR предохранители
эти предохранители используются как для защиты трехфазных конденсаторов, так и для защиты небольших трехфазных батарей.
Как уже было сказано, трехфазные конденсаторы или конденсаторные батареи должны быть разделены.
Стреляющие предохранители
Этот тип предохранителей наиболее эффективен при использовании с батареями высокой мощности, состоящими из нескольких десятков однофазных элементов. Правильно собранные батареи, состоящие как минимум из восьми элементов параллельно соединенных между собой, могут продолжать работу даже после выхода из строя одного из элементов (он отрезается своим стреляющим предохранителем) до тех пор пока превышение напряжения на оставшихся исправных конденсаторах будет не более 10% и батарея сможет работать при уменьшенной мощности.
Однако трехфазные батареи должны быть оборудованы защитой от разбалансировки, которая может иметь два порога: первый порог используется для оповещения о неисправности элемента, второй – для размыкания цепи в случае если неисправность привела к увеличению напряжения на рабочих конденсаторах более чем на 10%.
Эти предохранители также могут использоваться в малых трехфазных батареях с количеством конденсаторов от 6 и более. В этом случае невозможно продолжение работы с деактивированным элементом поскольку превышение тока на оставшихся конденсаторах будет более 10%.
И наконец, нужно помнить, что стреляющий предохранитель может выдержать разряд конденсатора, общая мощность которого не превышает 4 - 5 МВАр. Если мощность фазы больше, нужно принимать меры для поддержания общей мощности конденсатора в соответствии с данным пределом, например путем последовательного подключения двух или более секций на самой фазе.
С помощью стреляющего предохранителя также можно быстро определить вышедший из строя элемент.
В табл. 6 указаны серии стреляющих предохранителей в двух вариантах исполнения – для вертикальной и горизонтальной установки на конденсатор. Эти модификации отличаются конструкцией пружины предохранителя.
В табл. 5 показана кривая вмешательства.
Табл. 5 Кривая вмешательства
Табл. 6 Стреляющие предохранители (вес – 400 г)
Рис. 12 Установка стреляющего предохранителя в вертикальном и горизонтальном положении конденсаторов